 |
|
 |
Hydraulic coupling
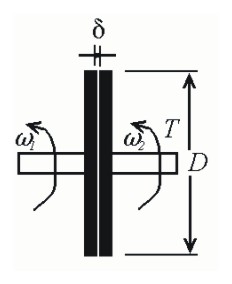
Hydraulic couplings are used as variable transmissions of rotary motion from one shaft to another. Consider the idealized hydraulic coupling shown in the figure, consisting of two flat disks with diameter D, separated by an adjustable gap δ. Assume that the torque T transmitted by the coupling depends on D, δ, the difference Δω = ω1 - ω2 in rotational speeds of the two shafts, and the density ρ and viscosity μ of the fluid between the disks.
a) Define an appropriate Reynolds number for this problem.
b) Devise appropriate dimensionless groups for this problem.
c) Tests have been made for a hydraulic coupling with D = 200 mm, δ = 1 mm, Δω = 500 rpm and SAE 30 oil at 20°C. The same coupling is used in SAE 30 oil at 80°C. Determine the values of δ and Δω required in the second case for dynamic similarity between the two sets of conditions. Then, determine the ratio of torques corresponding to the two sets of conditions.
Contributed by Stavros Tavoularis, Department of Mechanical Engineering, University of Ottawa, Ottawa, Canada. |
 |